行政职权基本信息表
(行政许可)
填报单位:黄石市人防办(民防局、地震局)
|
职权编码 |
01105322-0-XK-005-00 |
|
职权名称 |
人民防空工程竣工验收备案 |
|
子项名称 |
无 |
|
行使主体 |
黄石市人防办(民防局、地震局) |
|
办理类型 |
□即办件 □√承诺件 |
|
职权依据 |
【法律】《中华人民共和国人民防空法》(1996年10月29日第八届全国人民代表大会常务委员会第二十二次会议通过) 第二十三条 人民防空工程建设的设计、施工、质量必须符合国家规定的防护标准和质量标准。人民防空工程专用设备的定型、生产必须符合国家规定的标准。 【法规】《湖北省实施<中华人民共和国人民防空法>办法》(湖北省第十届人民代表大会常务委员会第二十次会议于2006年3月31日修订通过) 第十二条 人民防空工程建设应当严格执行国家和省的有关规定。投资建设主体未执行国家和省有关规定的,规划、建设、房产等部门不得办理其建设项目规划、施工和房产的发证手续。投资建设主体不按批准的设计文件修建或者建筑质量不符合标准的,人民防空主管部门应当要求并监督其返工。人民防空工程建设实行质量监督管理和竣工验收备案制度。县级以上人民政府人民防空主管部门对本行政区域内的人民防空工程质量实施监督管理,并接受同级建设行政主管部门指导。投资建设主体向建设行政主管部门办理防空地下室竣工验收备案时,应当出具人民防空主管部门的认可文件。 【规章】《湖北省人民防空工程管理规定》(2013年1月7日省人民政府常务会议审议通过)(省政府第358号令) 第二十七条 单建人防工程竣工后,建设单位应当按国家有关规定进行竣工验收。未经验收或者验收不合格的,不得交付使用。防空地下室竣工后,县级以上人民政府人民防空主管部门应当对其防护质量进行专项验收,并对质量合格的出具竣工验收认可文件。建设单位未取得认可文件的,县级以上人民政府住房和城乡建设主管部门不得办理工程竣工验收备案。防空地下室验收不合格的,建设单位应当进行整改,整改后仍不合格的,应当按规定缴纳人防工程易地建设费。 第二十八条 建设单位应当按照档案管理的有关规定,建立健全人防工程档案,并在人防工程竣工验收合格后30日内,向县级以上人民政府人民防空主管部门移交。 【规范性文件】《人民防空工程建设管理规定》(〔2003〕国人防办字第18号) 第三十八条 人民防空工程竣工验收实行备案制度。人民防空工程建设单位应当自工程竣工验收合格之日起15日内,将工程竣工验收报告和接受委托的工程质量监督机构及有关部门出具的认可文件报人民防空主管部门备案。 第五十七条 防空地下室竣工验收实行备案制度,建设单位在向建设行政主管部门备案时,应当出具人民防空主管部门的认可文件。 |
|
许可范围及条件 |
黄石市城市规划区内,所有人防工程竣工验收必须按照国家有关规定依法进行备案。 |
|
申请材料 |
1、人防工程竣工验收报告(原件1份); 2、人防工程竣工验收备案表(原件1份); 3、建设项目规划许可证、施工许可证(复印件1份); 4、防空地下室设计审查批准通知书(复印件1份); 5、防空地下室设计任务书(复印件1份); 6、人防施工图审查意见书(复印件1份); 7、平战转换设计方案; 8、平时作为应急避难场所的方案; 9、人民防空工程竣工图纸资料(含建筑、结构、通风、给排水、电气等)(原件1份); 10、人民防空工程验收记录(复印件1份); 11、防护设备安装单位签署的设备安装质量保修书(原件1份); 12、施工单位签署的工程质量保修书(原件1份); 13、人防工程质量监督报告(复印件1份)。 |
|
法定期限 |
20个工作日 |
|
承诺期限 |
无 |
|
特别程序及期限 |
无 |
|
收费依据及标准 |
无 |
|
证照批复名称 |
《民用建筑办理人防手续审批通知书》 |
|
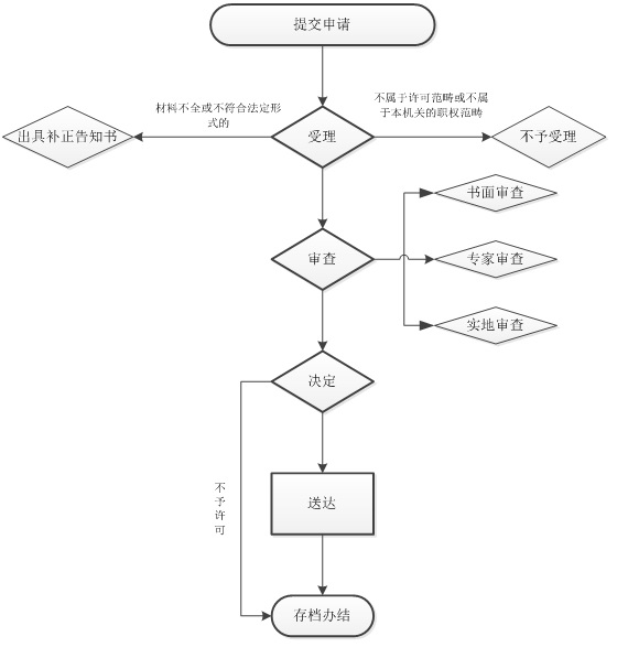
职权运行流程 |
申请→受理→审查→决定→送达 |
|
责任事项 |
1.受理责任:公示应当提交的材料,一次性告知补正材料,依法受理或不予受理(不予受理应当告知理由)。 2.审查责任:审查申请材料,组织现场检查。 3.决定责任;作出行政许可或者不予行政许可决定,法定告知(不予许可的应当书面告知理由) 。 4.送达责任:准予许可的,制发许可证书或批件,送达并信息公开。 5.监管责任:建立实施监督检查的运行机制和管理制度,开展定期和不定期检查,依法采取相关处置措施。 6.其他法律法规规章文件规定应履行的责任。 |
|
责任事项依据 |
1.《行政许可法》第三十条 行政机关应当将法律、法规、规章规定的有关行政许可的事项、依据、条件、数量、程序、期限以及需要提交的全部材料的目录和申请书示范文本等在办公场所公示。申请人要求行政机关对公示内容予以说明、解释的,行政机关应当说明、解释,提供准确、可靠的信息。 2.《行政许可法》行政许可法》第四十条 行政机关作出的准予行政许可决定,应当予以公开,公众有权查阅。第四十四条 行政机关作出准予行政许可的决定,应当自作出决定之日起十日内向申请人颁发、送达行政许可证件,或者加贴标签、加盖检验、检测、检疫印章。 3.《湖北省实施〈中华人民共和国人民防空法〉办法》(1997年12月3日湖北省第八届人民代表大会常务委员会第31次会议通过,2006年3月31日湖北省第十届人民代表大会常务委员会第20次会议修订)第十二条 人民防空工程建设实行质量监督管理和竣工验收备案制度。县级以上人民政府人民防空主管部门对本行政区域内的人民防空工程质量实施监督管理,并接受同级建设行政主管部门指导。投资建设主体向建设行政主管部门办理防空地下室竣工验收备案时,应当出具人民防空主管部门的认可文件。 4.《湖北省人民防空工程管理规定》(湖北省人民政府令第358号)第二十七条 单建人防工程竣工后,建设单位应当按国家有关规定进行竣工验收。未经验收或者验收不合格的,不得交付使用。 防空地下室竣工后,县级以上人民政府人民防空主管部门应当对其防护质量进行专项验收,并对质量合格的出具竣工验收认可文件。建设单位未取得认可文件的,县级以上人民政府住房和城乡建设主管部门不得办理工程竣工验收备案。 5.《湖北省人民防空工程管理规定》(湖北省人民政府令第358号)第二十八条 建设单位应当按照档案管理的有关规定,建立健全人防工程档案,并在人防工程竣工验收合格后30日内,向县级以上人民政府人民防空主管部门移交。 |
|
职责边界 |
一、责任分工 1.市级:负责本行政区域人民防空工程竣工验收备案 2.县级:负责本行政区域人民防空工程竣工验收备案 二、相关依据 《中华人民共和国人民防空法》(1996年10月29日第八届全国人民代表大会常务委员会第二十二次会议通过) 第六条 县级以上地方各级人民政府和同级军事机关领导本行政区域的人民防空工作。 第七条 县级以上地方各级人民政府人民防空主管部门管理本行政区域的人民防空工作。 县级以上人民政府的计划、规划、建设等有关部门在各自的职责范围内负责有关的人民防空工作。 |
|
承办机构 |
行政审批科 |
|
咨询方式 |
0714-6530250,黄石市黄石港区延安路28号市政务服务中心三楼民防局窗口,邮箱:hsmfweb@163.com |
|
监督投诉方式 |
0714-3282050,黄石市下陆区发展大道142号黄石市民防局政策法规科,邮箱:hsmfweb@163.com;0714-6510992,市政务服务中心投诉电话 |
|
审核意见 |
|
|
备注 |
|
人民防空工程竣工验收备案流程图
